增加统计投入产出点的数量统计
操作方式
一 新增工序名称分别定义投入工序和产出工序
二 创建新产品工艺流程,添加投入产出工序
如图
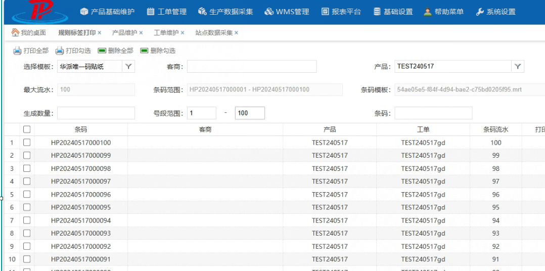
按之前的操作创建产品和工单
按工单打印显示贴纸二维码

视频操作
华派按工单打印条码.mp4
系统检查扫码条码属于本工单 设置
后续工单需要校验打印条码属于该工单的需要设置产品和工单选项
系统设置方式
| 1产品设置 | 初始化模式为 导入 其他保持之前设置 | ![]() |
| 2工单设置 | 初始化模式为 导入 其他保持之前设置 | ![]() |
| 3 使用规则打印条码 | 批量打印条码 并区分好工单 | ![]() |
| 4 扫码过站 | 正确的工单条码 | ![]() |
| 5 扫码过站 | 非工单条码 | ![]() |
操作视频
第一部分
PDA扫码检查问工单的条码.mp4
第二部分
生产操作统计进入工序和产出数量.mp4
第三部分
生产记录缺陷报表查询.mp4
报表查看

作者:潘茂盛 创建时间:2024-06-02 13:17
最后编辑:潘茂盛 更新时间:2025-05-09 11:58
最后编辑:潘茂盛 更新时间:2025-05-09 11:58




